Свирь-4М
установка оборотного водоснабжения мойки грузовых автомобилей
габариты: 2,5м х 2,7м х 1,6м
вес без учета воды: 2850 кг.
производительность: 4 л/сек.
Кол-во блоков: 1 шт.
Материал корпуса: сталь с высокоэффективным эпоксидно-полимерным покрытием
Установки «СВИРЬ» выпускаются нашей компанией уже более 30 лет, являются простыми, надёжными, не требующими дорогостоящих расходных материалов и высококвалифицированного обслуживающего персонала.
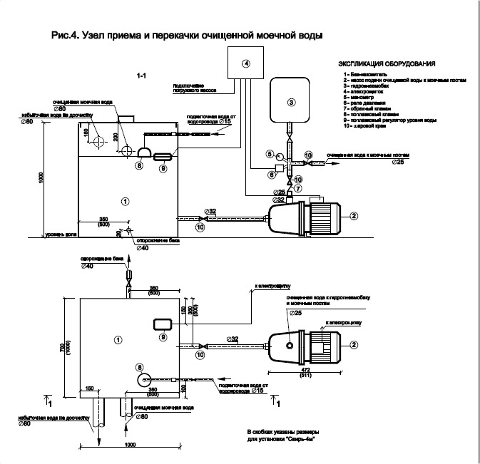
Установка предназначена для приёма и очистки загрязненных вод от мойки грузовых автомобилей (без использования автошампуней) с подачей очищенной моечной воды к моечным постам. Установка также обеспечивает глубокую очистку избыточной воды, появляющейся в системе за счёт ополаскивания вымытых автомобилей водопроводной водой с возможностью её сброса в дренажные канавы, придорожные кюветы и т.д.
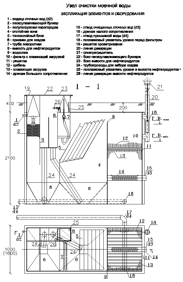
Установка изготавливается из листовой стали толщиной 4 мм, защищенной антикоррозийным покрытием из материалов, специально предназначенных для изоляции конструкций очистных сооружений. Тонкослойный блок изготавливается из оцинкованной стали.
- Очистка до норм ПДК
- Возможность допоставки дополнительных блоков очистных сооружений
- Возможно как подземное, так и наземное исполнение
- Автономная работа без участия людей
- Возможно изготовление станций любой производительности
Гарантийный срок службы установки - 1 год.
Расчетный срок службы установки до капитального ремонта - 25 лет.
Модель "СВИРЬ-4М" способна обслуживать 3 моечных поста.
Технические характеристики:
поступающая сточная вода от мойки
взвешенные вещества - до 2000 мг/л
поступающая сточная вода от мойки
нефтепродукты - до 30 мг/л
очищенная вода на мойку
взвешенные вещества - 15 мг/л
очищенная вода на мойку
нефтепродукты - 2 мг/л
очищенная избыточная вода
взвешенные вещества - 3 мг/л
очищенная избыточная вода
нефтепродукты - 0,05 мг/л